![]() |
Zielony dach z jednej rękiTechnika i technologie
Sadzenie roślin na płaskich, zaizolowanych powierzchniach praktykuje się z lepszym lub gorszym skutkiem już od setek lat. W ten sposób człowiek nie dość, że czyni sobie pr...
|
![]() |
Znaczenie paroizolacjiTechnika i technologie
W praktyce projektowania i wykonywania dachów płaskich bardzo często ze strony inwestorów pada pytanie o konieczność planowania lub montażu paroizolacji. Także od razu poja...
|
Przedsiębiorstwo Produkcji Materiałów Budowlanych Izolmat Sp. z o.o.Technika i technologie
ul. Sandomierska 3880-051 Gdańsktel. 58 301 82 61, 58 301 43 19fax 58 301 25 12izolmat@izolmat.com.plwww.izolmat.com.pl
|
Bauder Polska Sp. z o.o.Technika i technologie
ul. Kutrzeby 16 G lok. 14161-719 Poznańtel. 61 88 57 900fax 61 82 07 201info@bauder.plwww.bauder.pl
|
LOTOS Asfalt Sp. z o.o.Technika i technologie
Oddział w Jaśleul. 3 Maja 10138-200 Jasłotel. 13 446 67 50fax 13 446 67 46dok@nexler.plwww.nexler.pl
|
![]() |
Papy modyfikowaneTechnika i technologie
Materiały stosowane do hydroizolacji użytkowych i nieużytkowych powierzchni dachowych powinny charakteryzować się odpowiednimi właściwościami, dostosowanymi prawidłowo do ...
|
![]() |
System oddymiania grawitacyjnego MercorTechnika i technologie
Hala Olivia, będąca przez wiele lat jedną z wizytówek Gdańska, powstała na początku lat 70. XX wieku. Autorem projektu był absolwent Politechniki Gdańskiej prof. Maciej Gi...
|
![]() |
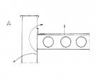
Ocieplenie stropodachu bez mostków termicznychTechnika i technologie
Jak połączyć dach płaski z attyką w taki sposób, aby nie powstawał tu mostek termiczny? Niżej podajemy schematyczne rozwiązanie.
|
NAJCZĘŚCIEJ CZYTANE
Odwodnienia zewnętrzne dachów o pokryciu bitumicznym
Odwodnienia dachów płaskich - najczęściej popełniane błędy
Trwały taras
Jak dobrać papę termozgrzewalną?
Bezpieczne odwadnianie awaryjne dachów płaskich przez attykę
Obciążenie śniegiem obiektów budowlanych
Stropodachy płaskie na blachach fałdowych z pokryciem z tworzyw sztucznych
Świetliki dachowe z płyt poliwęglanowych
Zwody instalacji odgromowej na dachach budynków
Odporność ogniowa warstwowych przekryć dachowych
Membrana dachowa Dachgam - Niezawodny materiał na dachy płaskie
Membrany hydroizolacyjne z PVC - zasady układania
Kształtowanie spadków w termoizolacji dachu płaskiego
Płynna folia hydroizolacyjna Enkopur
Sąd pod papą
Zakład papy na dwa razy
Zielona ściana. Nowe rozwiązanie systemowe Optigrun
Stan przedawaryjny płyty balkonowej i projekt naprawy
Tarasy i balkony. Technologia płynnych folii firmy Enke-Werk
Jaka jest wytrzymałość dachu płaskiego i ile ona kosztuje?
Architektura ogrodowa z zielonymi dachami
Łączniki dachowe
Podciśnieniowy system odwodnień dachów płaskich
Mocowania na dachach płaskich zgodnie z nową normą wiatrową - Wytyczne DAFA
Ocieplenie stropodachu bez mostków termicznych
Technologie dachów użytkowych na bazie membran epdm
Innowacyjna powłoka ochronno-dekoracyjna na balkony i tarasy Enketop
Hydroizolacja stropu garażu podziemnego
Bezpieczeństwo pożarowe przekryć dachowych
Wykrywanie nieszczelności dachów płaskich




